
0731-85228888 / 13297400000
适用于电子控制中心、计算机房、数据中心、配电房、配电柜、风电机房、储能电站、高级精密仪器、博物馆、数据处理中心、航空、舰船控制机房、新能源汽车锂电池的防护等多种小型场合的火灾防护
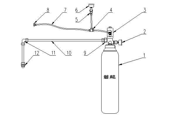
全氟己酮间接探火管式灭火装置结构图

| 1.灭火储瓶 | 2.灭火剂瓶组压力表 | 3.容器阀 | 4.探火管三通 |
| 5.压力表开关 | 6.探火管压力表 | 7.探火管 | 8.末端堵头 |
| 9.转换接头 | 10.释放管 | 11.释放管弯头 | 12.喷嘴 |
型号规格 | QFTH-J-3/2.5/150-PAVLN |
产品类型 | 间接式 |
贮存压力(20℃) | 2.5 MPa |
灭火剂 | 全氟己酮 |
灭火剂充装量 | 3 kg |
探火管最大长度 | 30 m |
释放管最大长度 | 12 m |
探火管充装压力:1.5 MPa | |
探火管静态动作温度:150±10℃ | |
使用环境温度:0~50℃ | |
注:探火管式灭火装置型号表示QFTH-J-3/2.5/150-PAVLN 150——探火管动作温度(℃); | |
Copyright © 2002-2024 立博买球 版权所有 备案号: 湘ICP备10202298号 湘公网安备 43012402000493号